当前位置: 首页 >> 宝马开始研发电动摩托车无线充电系统
宝马开始研发电动摩托车无线充电系统
2020/1/2 8:45:48

无线充电功能早已经融入我们的日常生活当中,现代化的汽车很多也配备了该项功能。现在轮到了摩托车领域,别误会这可不是为了给手机充电。

 

无线充电,宝马无线充电技术
 

 

 

无线充电,宝马无线充电技术
 


 

 

2018年,宝马为插电式混动和电动汽车推出了无线充电系统,不过虽然舍掉了繁琐的电线,提升了便利性,但充电效率却没有得到保障。可是他们并没有放弃这项功能,开始考虑使用在电动摩托车上。

 

无线充电,宝马无线充电技术
 


 

 

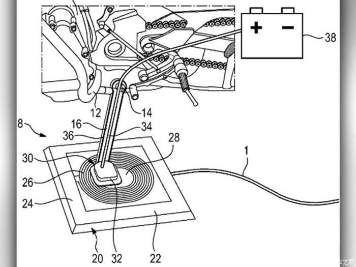
宝马开发的无线充电系统需把充电板安置在地面上,充电时将车辆对准固定位置停好,车辆和充电装置没有任何接触,所以导致了较低的效率。

 

无线充电,宝马无线充电技术
 


 

 

今年11月,宝马针对电动摩托车重新设计了一套无线充电系统,并在欧洲申请了产品专利,使用一个充电垫子安置在地面,然后将摩托车边撑放到上面,相当于有了连接系统。区别与此前“悬浮式”充电,有效提升充电效率。

 

无线充电,宝马无线充电技术
 

 

 

无线充电,宝马无线充电技术
 


 

 

目前这项功还不能普及的原因是,现在宝马仅有一款C Evolution电动踏板摩托车,而市场保有量却不是那么庞大,不过好在是宝马已经开始研发全新的纯电摩托车,也许在未来将会推出更多类型电动摩托车。

关于我们 | 联系我们 | 招贤纳士 | 隐私权声明 | 网址律师
Copyright © 2001 - 2026 SINOCARS Inc. All Rights Reserved
版权所有:新诺视线传播机构  京ICP备05020129号-5 公安备案 11011502002340